Musefælden
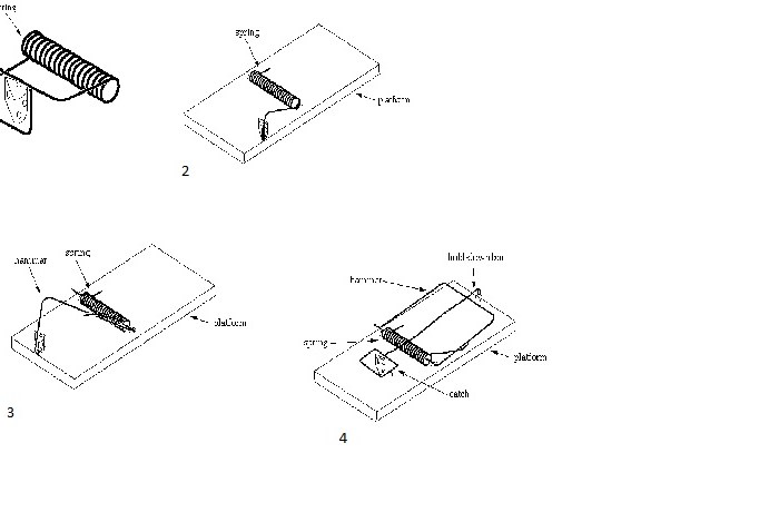
Dette er sjette del af Michael Behes artikel om irreducibel kompleksitet og implikationerne for intelligent design. De første fire dele blev bragt her, her, her, her og her. I dette afsnit diskuterer Behe … Continue Reading Musefælden
Dette er sjette del af Michael Behes artikel om irreducibel kompleksitet og implikationerne for intelligent design. De første fire dele blev bragt her, her, her, her og her. I dette afsnit diskuterer Behe … Continue Reading Musefælden
Irreducibel kompleksitet: Et problem for darwinistisk evolution, 5 Dette er femte del af Michael Behes artikel om irreducibel kompleksitet og implikationerne for intelligent design. De første fire dele blev bragt … Continue Reading Den irreducibelt komplekse blodstørkningskaskade
Den kendte amerikanske filosof og ateist Thomas Nagel er forfatter til bogen Mind and Cosmos. Der burde dengang i 2012 intet opsigtsvækkende have været ved denne udgivelse. Nagel havde trods … Continue Reading Ateisten, som forsvarer ID
Jeg skrev for en uge siden om den berømte engelske antropolog Louis Leakeys fund i 1932 i Kenya på lokaliteterne Kanam og Kanjeera. Disse anatomisk moderne menneskeknogler blev dengang dateret … Continue Reading Louis Leakey og Calico Hills, Californien
Dette er fjerde del af Michael Behes artikel om irreducibel kompleksitet og implikationerne for intelligent design. De første tre dele blev bragt her, her og her. Behe går nu over … Continue Reading Irreducibel kompleksitet: Et problem for darwinistisk evolution, 4
En af de ypperste fortalere for intelligent design, professor Michael Behe, havde for nylig en debat med en af de mest aktive kritikere af ID, Dr. Joshua Swamidass. Debatten var … Continue Reading Kommentar til Behes debat med Swamidass
I diskussionen om arkæologifund, der sætter spørgsmålstegn ved de gængse ideer om menneskets oprindelse og udvikling, er det svært at komme uden om den engelske antropolog Louis Leakey. Han var … Continue Reading Kanam-kæben og hovedskallerne fra Kanjera
Evolution News og David Klinghoffer drager den 9. november 2020 en interessant sammenligning mellem Piltdownmanden, som vi har diskuteret her på Intelligent Design DK for nylig, og andre videnskabelige bedrag. … Continue Reading Haeckel slår Piltdownmanden
I sommers fik to skandinaviske forskere, svenskeren Ola Hössjer og nordmanden Steinar Thorvaldsen, optaget en evolutionskritisk artikel om finjusteringen inden for biologens verden i det ansete videnskabelige tidsskrift Journal of … Continue Reading Den akademiske frihed er i fare
Dette er tredje del af Michael Behes artikel om irreducibel kompleksitet og implikationerne for intelligent design. De første to dele blev bragt her og her. Misforståelser omkring designhypotesen Hypotesen om … Continue Reading Irreducibel kompleksitet: Et problem for darwinistisk evolution, 3
Jeg bragte den 23.10 den første del af en artikel af Michael Behe, Irreducibel kompleksitet: Et problem for darwinistisk evolution. Dr. Behe forklarede, hvad der menes med irreducibel kompleksitet, og … Continue Reading Irreducibel kompleksitet: Et problem for darwinistisk evolution, 2
“De første mennesker var overraskende kloge” var overskriften på en artikel på DR den 31. oktober 2020. Artiklen omtaler fundet af et benredskab, der har takker ligesom på en sav … Continue Reading DR: De første mennesker var overraskende kloge
Et meget omtalt arkæologisk fund, der igen sætter et spørgsmålstegn ved de gængse forestillinger forestillinger om menneskets evolution og oprindelse, kommer fra Tanzania. I 1913 stod professor Hans Reck … Continue Reading Recks Skelet: Tanzania 1913